A máscara Face Shield com material transparente (Folha de PETG) ajuda na redução do risco de contágio do COVID-19, pois barra o contato das mão com os olhos e outras ações involuntárias.

Utilizando a tecnologia de impressão 3D, podemos confeccionar um Equipamento de Proteção Individual (EPI) para a face, assim complementando as máscaras do tipo N95 (pois os olhos ficam desprotegidos).
O projeto foi denominado “Face shield for life 3D” e seu download pode ser efetuado no link a seguir ou na URL ORIGINAL:
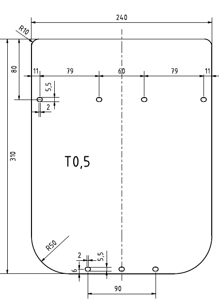
No link, além dos arquivos 3D, encontramos as dimensões do material transparente (Folha de PETG), marcações e outros.

Minha amiga de Latinoware e eventos de Software Livre Barbara Samel Rocha Tostes especialista em impressão 3D esta disponibilizando diversas informações no seu Facebook e também me conectou ao Grupo do Telegram de modelagem3D. Então posso servir de interface para maiores esclarecimentos.
O polímero é a matéria-prima utilizada na impressora 3D. O seu custo esta em torno de R$ 100, esta quantidade é suficiente para produzir aproximadamente 30 e 32 máscaras.
Mas cuidados especiais devem ser tomados. Desde a confecção até a logística de entrega (que apenas profissionais de saúde conseguem aplicar para garantir o risco de não contaminação).
Então sugiro que os municípios se organizem reunindo profissionais com conhecimento suficiente para produzir o material de maneira segura (assim evitando o aumento do risco de contágio através da própria máscara). Os médicos e hospitais possuem aparelhos para descontaminar as mascarás (não somente do COVID-19), assim tornando eficiente o movimento.
Atenção: A ANVISA regulamentou ontem as Faceshields, tamanho mínimo de 24x24cm com 0.5mm de espessura , Logo Acetato de fichário não atende.
§ 4° O visor frontal deve ser fabricado em material transparente e possuir dimensões mínimas de espessura 0,5mm, largura 240 mm e altura 240mm.
Mais informação a seguir:

